Position:Home > Products > Butterfly Valve

Specifications:
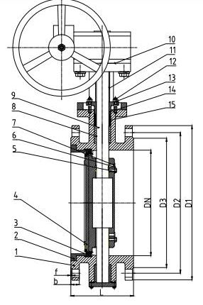
1. Body: GGG40/50
2. Packing Gland: GGG40/50
3. Seal Ring: EPDM
4. Disc: GGG40/50
5. Screw: 35
6. Packing Seat: EPDM
7. Pin: 45
8. Cover: ZA-27
9. Stem: 2cr13
10. Gear Actuator: Parts
11. Yoke: GGG40/50
12. Screw: 35
13. Nut: 35
14. Gland: GGG40/50
15. O-ring: NBR
Application:
1.Face to face is according to EN558-1
2.Flange drilled is according to EN1092-2
Working Range:
1.Potable water /drinking water
2.Water/wastewater treatment
Test:
Working pressure: 1.0MPa
Shell pressure: 1.5MPa
Seat pressure: 1.1MPa
Suitable Temperature: <=100 ℃
Suitable medium: raw sewerage/Water
Dimensions:
DN
3"
4"
5"
6"
8"
10"
12"
14"
16"
18"
20"
24"
28"
32"
36"
40"
L
114mm
127mm
140mm
140mm
152mm
165mm
178mm
190mm
216mm
222mm
229mm
267mm
292mm
318mm
330mm
410mm
W(kg)
20
22
27
35
52
75
105
125
185
220
295
490
670
940
1140
1525
We also offer big size from 2" to 50" for this valve.
If you have specified requirements or any questions,welcome to ask for us.
Email: sind02@sindfm.com